用途・機能
・コンベアベルトの表面に付着した搬送材料を搔き取るためのベルトクリーナーです。
・硬質ウレタンの先端に装着した幅15mmの超硬チップをベルトの幅方向に並べています。
・高速走行するベルトの上下運動やスラスト運動に追随して搔き取り不良を最小限に抑えることができます。
・掻き落とされた付着物はヘッドプーリの下部のホッパーやシュート自動的に落下します。
・人力による回収作業は最小限になります。構造はシンプルで軽量ですので現場取付や芯出し作業も簡単です。
・超硬チップとベルトの当たり調整はクリーナー両側のボルトを1mm程度動かすだけです。
・粉、粒、泥状、ペースト、練り物練り物状などあらゆる搬送材料に対応可能です。
クリーナー選定時の留意点
クリーナーの構造はシンプルか → 超硬チップとウレタンバーの組合わせ
クリーナーの点検は容易か → 点検通路からの目視でOK
クリーナーの手入れは容易か → 手入れ不要
衝撃を回避できる構造であるか → ウレタンバーの撓みで衝撃回避
クリーナーやベルトの損傷有無 → ウレタンバーが全体的に撓んで損傷回避
ベルトとの当接状態は良好か → 超硬チップをベルト表面に正確に当接可能
掻き取り刃は摩耗に耐えるか → 掻き取り刃はWCなので最高の材料使用
付着物の後処理は容易か → 自動的に下部ホッパーに収容
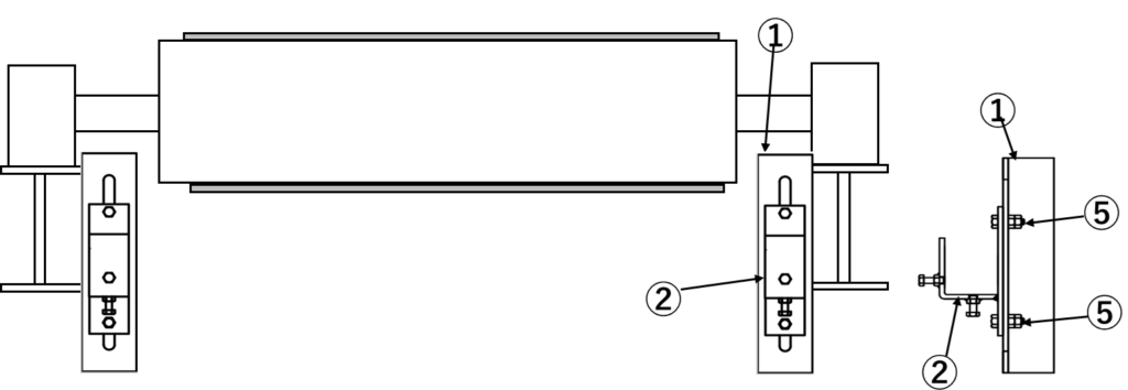
クリーナーの交換は容易か → 片側ボルトを2本ずつ外して交換可能
クリーナーの調整は容易か → 点検通路からボルトを調整するだけでOK
クリーナーは安価か → 超硬を使用しているクラスの中では安価
多様な付着物に対応可能か → 粉、粒、泥、スラリーなど対応可能
クラウンロール対応可能か → ドライブプーリのクラウンにも対応可能
主な特徴
1)幅15mm超硬チップをウレタンバーの先端に固定
超硬チップはウレタンバーに1枚ずつ横一列に配列しています。超硬チップ幅は15mmです。フレームの下部には超硬チップの高さを調整するためのボルトが着いておりベルトの摩耗状態に合わせて微小な隙間を調整できるようにしています。この機構により超硬チップをベルト表面にしっかりフィットできます。


2)ウレタンバーの撓みでベルトからの衝撃力を吸収できるのでクリーナーが破損することはありません。



3)付着物の後処理は自動的にホッパー内に収納可能です。



4)クラウンロールにも対応可能です。
ドライブロールは蛇行修正のため中央部が高くなるようにラギングされている場合があります。マフレンベルトクリーナーは高さ調整ボルトでそれぞれの超硬チップの高さを調整できますのでクラウンロールの掻き取りにも対応可能です。

5)搔き取り調整は容易です。


マフレンベルトクリーナーのラインナップ
1)高さ調整ボルトタイプ
フレーム下部の高さ調整ボルトで超硬チップの高さを調整できます。

2)高さ調整ボルト無しタイプ
高さ調整ピンで超硬チップの高さを調整できます。



コメント